罗永浩股权被冻结约714万
罗永浩被冻结约714万股权,这一消息引起了广泛关注,引发了人们对这位企业家的关注和热议,据悉,这一股权冻结事件涉及到罗永浩所经营的公司,具体细节尚不清楚,这一事件可能会对罗永浩的商业计划和未来发展产生一定的影响,需要进一步关注后续报道以获取更多信息。
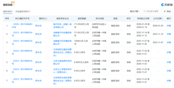
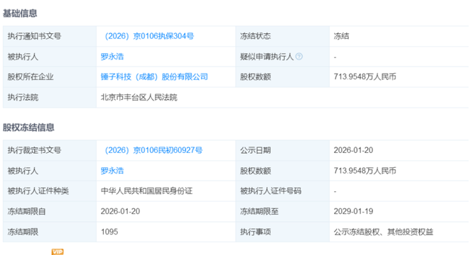
凤凰网财经讯1月22日天眼查天眼风险信息显示, 罗永浩名下新增一则股权冻结记录,其持有的锤子科技(成都)股份有限公司约714万元股权被司法冻结,冻结期限自2026年1月20日起至2029年1月19日止,执行法院为北京市丰台区人民法院。
公开信息显示,锤子科技(成都)股份有限公司成立于2012年5月,法定代表人为管志良,注册资本约3149.8万元,核心业务涵盖中高端智能手机、智能工作站及生态链产品的设计、研发与销售。
股权结构方面,罗永浩作为公司董事长,持股比例约22.67%,是该公司的受益所有人及实际控制人,同时与成都东方广益投资有限公司、北京明匠汇智投资管理合伙企业(有限合伙)等共同构成公司主要股东阵容。此次被冻结的股权,正是其在该核心主体持有的资产份额。
值得注意的是,这并非罗永浩首次因债务纠纷遭遇股权冻结。
天眼查数据显示,此前罗永浩作为被执行人已存在多条股权冻结记录,均由北京市第一中级人民法院执行,冻结期限为2023年11月16日至2026年11月15日。
据天眼查信息显示,目前锤子科技(成都)股份有限公司仍背负多项法律风险,包括2条失信被执行人信息、1条被执行人信息、2条限制高消费信息,此前已被法院判令履行的执行标的合计超过2142万元,涉及多起借款纠纷及合同纠纷。其中,2025年6月紫辉创投CEO郑刚与锤子科技的1500万借款诉讼二审维持原判,锤子科技需偿还借款本金及利息并承担诉讼费用,成为其债务问题的重要组成部分。
2024年9月,罗永浩曾公开表示已还清所有债务,总额达8.24亿元,远超最初公布的6亿余元,额外增加的部分主要源于官司纠纷的赔偿及滞纳金罚款。从法律意义上讲,罗永浩的个人债务已清偿完毕,此次股权冻结本质上是锤子科技作为主体的债务纠纷引发的司法措施,而非其个人新增债务。
作者:访客本文地址:https://www.nbdnews.com/post/10138.html发布于 2026-01-22 16:03:51
文章转载或复制请以超链接形式并注明出处NBD财经网



还没有评论,来说两句吧...